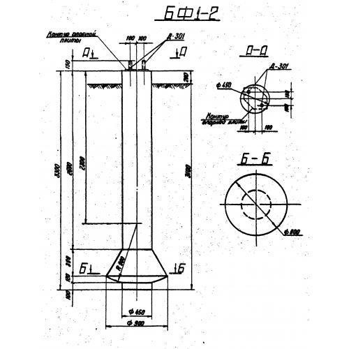
Фундамент серии 3.407.9-146 Серия 3.407-123 АТС предназначен для использования в строительстве как основание для различных сооружений. Изготовлен из железобетона, что обеспечивает ему высокую прочность и долговечность. Имеет специальное исполнение для установки автоматических телефонных станций (АТС), что делает его идеальным выбором для строительства коммуникационных объектов.









